Body Control Module Connector End Views

Table 1:

Body Control Module (BCM) C1

Table 2:

Body Control Module (BCM) C2

Table 3:

Body Control Module (BCM) C3

 

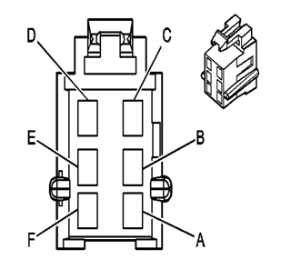
Body Control Module (BCM) C1


Object Number: 62480  Size: DEFAULT
Click here for detailed picture of above image.

Connector Part Information

  • 1208-9527
  • 6 Way F Metri-Pack 280 Series (GRN)

Pin

Wire Color

Circuit No.

Function

A

TAN

694

Driver door unlock

B

GRY

295

Lock all output

C

RED/BLK

780

Lock all input

D

ORN/BLK

781

Unlock all input

E

GRY/BLK

1663

Passenger door unlock

F

--

--

Not used

 

Body Control Module (BCM) C2


Object Number: 62456  Size: DEFAULT
Click here for detailed picture of above image.

Connector Part Information

  • 1206-4752
  • 6 Way F Metri-Pack 280 Series (BLK)

Pin

Wire Color

Circuit No.

Function

A

BLK

650

Ground

B

ORN

40

Battery positive voltage

C

DK BLU

75

Retained accessory power (RAP)

D

BRN

4

Accessory positive voltage

E

DK BLU/WHT

149

Courtesy lamps feed

F

RED

102

Battery positive voltage

 

Body Control Module (BCM) C3


Object Number: 73157  Size: DEFAULT
Click here for detailed picture of above image.

Connector Part Information

  • 1211-0207
  • 32 Way F Metri-Pack 100 Series (BLU)

Pin

Wire Color

Circuit No.

Function

C1

BLK

650

Ground

C2

PPL/WHT

1074

Ignition key resistor return

C3

--

--

Not used

C4

PPL/WHT

237

Fasten seat belt indicator control

C5

DK GRN

220

Starter enable (V6 VIN K)

C6

DK GRN/WHT

817

Vehicle speed input (Gulf States)

C7

GRY

157

Interior lamps command input

C8

BLU/WHT

624

Park lamps relay control (Domestic)

C8

YEL

1977

Rear fog lamp relay control (Europe)

C9

BLK

BLK

Horn relay control

C10

--

--

Not used

C11

YEL/BLK

625

Starter relay control

C12

GRY

728

Security indicator lamp control

C13

BLK/WHT

238

Seat belt switch signal

C14

LT GRN

80

Ignition key signal

C15

YEL/BLK

68

Low coolant indicator latching

C16

--

--

Not used

D1

WHT

156

Courtesy lamps return

D2

LT BLU

263

Shock sensor tamper input

D3

BLK/WHT

1576

Rear compartment lid release signal

D4

BRN

253

Rear compartment lid release relay control

D5

PNK

39

Ignition positive voltage

D6

YEL

49

Program input

D7

WHT/BLK

1037

Ignition key resistor feed

D8

DK BLU

229

Fuel enable

D9

LT BLU

187

Rear fog lamp request (Europe)

D10

--

--

Not used

D11

GRY/BLK

745

Driver door open input

D12

BLK/WHT

746

Passenger door input

D13

ORN/BLK

737

Rear compartment lid ajar input

D14

LT GRN

1828

Shock sensor shock input (Domestic)

D14

BLK

650

Ground (Europe)

D15

BRN

9

Park lamps feed

D16

--

--

Not used