Body Control Module Connector End Views

Table 1:

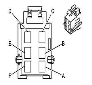
Body Control Module (BCM) C1

Table 2:

Body Control Module (BCM) C2

Table 3:

Body Control Module (BCM) C3

Table 4:

Front Side Door Lock, Left

Table 5:

Front Side Door Lock, Right

 

Body Control Module (BCM) C1


Object Number: 62480  Size: DEFAULT
Click here for detailed picture of above image.

Connector Part Information

  • 1208-9527
  • 6 Way F Metri-Pack 280 Series (GRN)

Pin

Wire Color

Circuit No.

Function

A

TAN

694

Driver Door Unlock

B

GRY

295

Lock All Output

C

RED/BLK

780

Lock All Input

D

ORN/BLK

781

Unlock All Input

E

GRY/BLK

1663

Passenger Door Unlock

F

--

--

Not Used

 

Body Control Module (BCM) C2


Object Number: 62456  Size: DEFAULT
Click here for detailed picture of above image.

Connector Part Information

  • 1206-4752
  • 6 Way F Metri-Pack 280 Series (BLK)

Pin

Wire Color

Circuit No.

Function

A

BLK

650

Ground

B

ORN

40

Battery Positive Voltage

C

DK BLU

75

Retained Accessory Power (RAP)

D

BRN

4

Accessory Positive Voltage

E

DK BLU/WHT

149

Courtesy Lamps Feed

F

RED

102

Battery Positive Voltage

 

Body Control Module (BCM) C3


Object Number: 73157  Size: DEFAULT
Click here for detailed picture of above image.

Connector Part Information

  • 1211-0207
  • 32 Way F Metri-Pack 100 Series (BLU)

Pin

Wire Color

Circuit No.

Function

C1

BLK

650

Ground

C2

PPL/WHT

1074

Ignition Key Resistor Return

C3

--

--

Not Used

C4

PPL/WHT

237

Fasten Seat Belt Indicator Control

C5

DK GRN

220

Starter Enable (V6 VIN K)

C6

DK GRN/WHT

817

Vehicle Speed Input (Gulf States)

C7

GRY

157

Interior Lamps Command Input

C8

BLK/WHT

624

Park Lamps Relay Control (Domestic)

C8

YEL

1977

Rear Fog Lamp Relay Control (Europe)

C9

BLK

28

Horn Relay Control

C10

--

--

Not Used

C11

YEL/BLK

625

Starter Relay Control (Domestic)

C12

GRY

728

Security Indicator Lamp Control

C13

BLK/WHT

238

Seat Belt Switch Signal

C14

LT GRN

80

Ignition Key Signal

C15

--

--

Not Used

C16

DK GRN

1376

Security LED Control

D1

WHT

156

Courtesy Lamps Return

D2

LT BLU

263

Shock Sensor Tamper Input

D3

BLK/WHT

1576

Rear Compartment Lid Release Signal

D4

BRN

253

Rear Compartment Lid Release Relay Control

D5

PNK

39

Ignition Positive Voltage

D6

YEL

43

Program Input

D7

WHT/BLK

1037

Ignition Key Resistor Feed

D8

DK BLU

229

Fuel Enable

D9

LT BLU

187

Rear Fog Lamp Request (Europe)

D10

--

--

Not Used

D11

GRY/BLK

745

Driver Door Open Input

D12

BLK/WHT

746

Passenger Door Input

D13

ORN/BLK

737

Rear Compartment Lid Ajar Input

D14

LT GRN

1828

Shock Sensor Shock Input (Domestic)

D14

BLK

650

Ground (Europe)

D15

BRN

9

Park Lamps Feed

D16

--

--

Not Used

 

Front Side Door Lock, Left


Object Number: 38608  Size: DEFAULT
Click here for detailed picture of above image.

Connector Part Information

  • 1216-2189
  • 4 Way F Metri-Pack 150.2 Series (BLK)

Pin

Wire Color

Circuit No.

Function

A

GRY/BLK

745

Driver Door Open Signal

B-C

--

--

Not Used

D

BLK

750

Ground

 

Front Side Door Lock, Right


Object Number: 38608  Size: DEFAULT
Click here for detailed picture of above image.

Connector Part Information

  • 1216-2189
  • 4 Way F Metri-Pack 150.2 Series (BLK)

Pin

Wire Color

Circuit No.

Function

A

BLK/WHT

746

Passenger Door Open Signal

B-C

--

--

Not Used

D

BLK

750

Ground